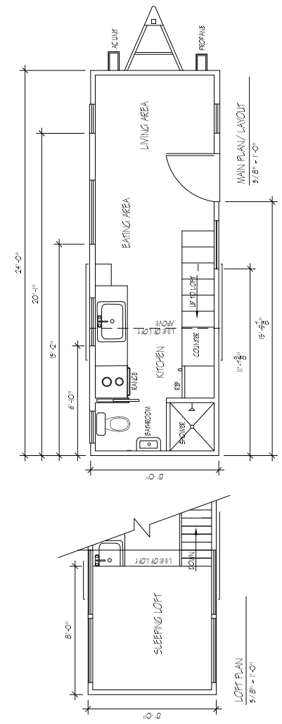
Exterior dimensions are 24' long by 8'6" total width that includes roof overhang and total height of 13'5" tall which includes the trailer of 2' from the ground.
New Custom made trailer designed for the weight distribution of your build
Insulation is blow in fiberglass and as follows R13 floor, R15 walls, and R15 ceiling insulation r factors are a rough estimate
Smartboard board and batt siding
Metal roof, color of choice. Overhangs house walls by 2 inch on both sides.
8' loft above kitchen and bathroom
Rear bathroom with regular porcelain toilet, very small bathroom sink (as in picture), washer dryer hookups, 32”x32” shower pan with glue up shower walls and no shower door.
Mid kitchen with a single basin stainless sink with a pullout faucet, a Danby 4 burner propane rv stove with oven, and a 9.9 cu.ft. Danby fridge.
All kitchen cabinets to be Home Depot pre assembled in stock (call for other options)
One sheet Congoleum vinyl floor
Laminate Counter top
All interior walls to be pine tongue and groove or painted plywood with seams every 4'(color chosen by the customer)
Stairs are Pine custom built and as close to code as possible
30 amp rv connection and 50 amp panel, all electrical devices to be white
3" rv twist drain connection, hose water connection plumbing pipe will be pex with chrome handles and fittings
Propane rv 6 gallon water heater mounted under kitchen sink with access door on outside wall
All windows to be white slider type and front door is 60"x80 french door.